Tělo ventilu a kryt pneumatického membránového regulačního ventilu jsou vyrobeny z nerezové oceli a vykazují pozoruhodnou odolnost proti korozi a vylepšené těsnicí schopnosti. Pneumatický pohon, využívající jako zdroj energie stlačený vzduch nebo plyn, reguluje polohu jádra ventilu úpravou tlaku zdroje vzduchu. Toto pečlivé nastavení umožňuje přesnou kontrolu nad průtokem, tlakem a teplotními parametry média. V srdci regulačního ventilu leží membrána, stěžejní komponenta s vynikajícími těsnicími vlastnostmi a rychlou odezvou, která umožňuje pečlivé a vysoce přesné ovládání.


Standard
Design: ANSI B16.34, API 6D, ISO 5208, DIN 3356 atd
Tloušťka stěny: ANSI B16.34, BS 1873, DIN 3356, JIS B2071
Přírubové konce: ANSI B16.5, API 605, BS 4504, DIN 2501, JIS B2220
Výhoda
1. Jednoduchá struktura: skládá se z několika klíčových komponent. Tato jednoduchost usnadňuje instalaci, údržbu a provoz.
2. Dokáže se přizpůsobit situaci velkého tlakového rozdílu mezi importem a exportem. Díky této schopnosti je vhodný pro aplikace, kde je třeba zvládnout nebo snížit významné změny úrovně stresu.
3. Spolehlivý provoz, vhodný pro požadavky na těsnění nejsou přísné příležitosti.
4. Široce používán v ropě, chemii, hutnictví, elektrárnách a dalších průmyslových odvětvích.
Princip fungování
Servisní médium prochází tlakovým regulačním ventilem ve směru označeném šipkou a přenáší tlak ventilu P1 do pilotního ventilu přes tlakovou trubku . Nastavením regulačního šroubu v místě nastavení se v nastavovacím bodě generuje odpovídající provozní Ps. pilot. Ovládací síla Ps působí na horní membránovou komoru servomotoru, nastavený tlak za ventilovým tlakem P2 působí na spodní membránovou komoru a je spojen se zpětnovazebním signálem pilota. Když se nastavený tlak P2 zvýší, stlačení pružiny v pilotu se zvýší, aby se pilotní kuželka pohybovala směrem k zavírání dolů a Ps se snižuje. P2 ve spodní membránové komoře pohonu se tedy zvyšuje a Ps v horní membránové komoře klesá, aby se kuželka řídicího ventilu pohybovala směrem k zavíracímu směru, aby se P2 zmenšovalo, dokud se nevrátí na nastavenou hodnotu. Když P2 klesá, směr působení je opačný než výše uvedený. Při nastavování tlaku před ventilem nebo před ventilem na místě nastavte tlak pomocí seřizovacího šroubu a jehlového ventilu.
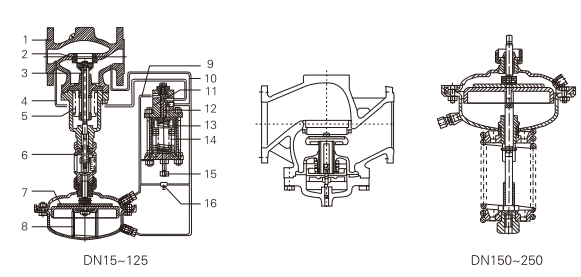
Hlavní rozměry


Populární Tagy: Pneumatický membránový regulační ventil z nerezové oceli, Čína výrobci, dodavatelé, výrobci pneumatických membránových regulačních ventilů z nerezové oceli, továrna











